Product Summary
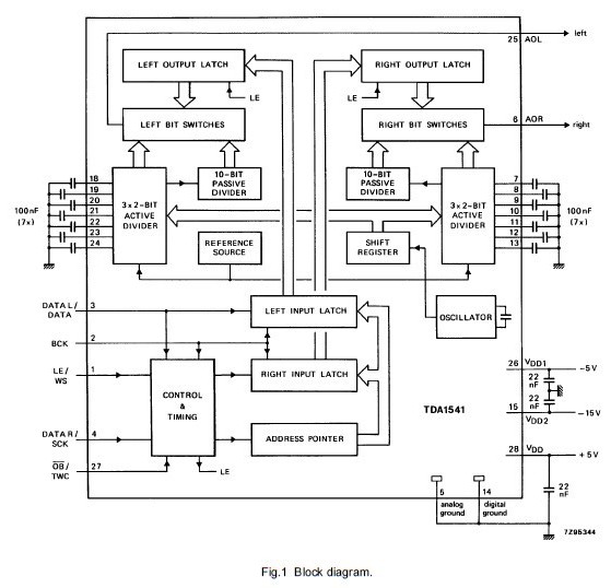
The TDA1541 is a monolithic integrated dual 16-bit digital-to-analogue converter (DAC) designed for use in hi-fi digital audio equipment such as Compact Disc players, digital tape or cassette recorders. The TDA1541 accepts input sample formats in time multiplexed mode or simultaneous mode with any bit length. The most significant bit (MSB) must always be first. This flexible input data format of TDA1541 allows easy interfacing with signal processing chips such as interpolation filters, error correction circuits, pulse code modulation adaptors and audio signal processors (ASP).
Parametrics
TDA1541 absolute maximum ratings: (1)Supply voltage ranges pin 28, VDD: 0 to +7V; (2)Supply voltage ranges pin 26, VDD1: 0 to -7V; (3)Supply voltage ranges pin 15, VDD2: 0 to -17V; (4)Crystal temperature range, TXTAL: -55 to +150℃; (5)Storage temperature range, Tstg: -55 to +150℃; (6)Operating ambient temperature range, Tamb: -20 to +70℃; (7)Electrostatic handling, Ves: -1000 to +1000V.
Features
TDA1541 features: (1)Selectable two-channel input format: offset binary or two’s complement; (2)Internal timing and control circuit; (3)TTL compatible digital inputs; (4)High maximum input bit-rate and fast settling time.
Diagrams

| Image | Part No | Mfg | Description | ![]() |
Pricing (USD) |
Quantity | ||||
|---|---|---|---|---|---|---|---|---|---|---|
![]() |
![]() TDA1541 |
![]() Other |
![]() |
![]() Data Sheet |
![]() Negotiable |
|
||||
![]() |
![]() TDA1541A |
![]() Other |
![]() |
![]() Data Sheet |
![]() Negotiable |
|
||||
(China (Mainland))









