Product Summary
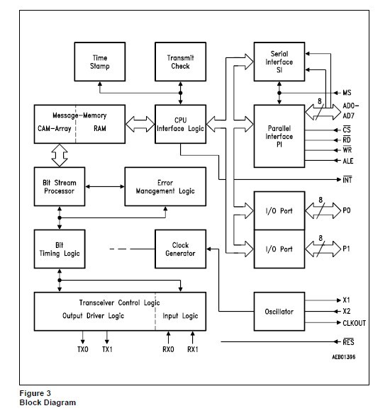
The Siemens Stand Alone Full CAN (SFCAN) circuit SAE81C91-NE13 incorporates all the parts for completely autonomous transmission and reception of messages using the CAN protocol. The flexible, programmable interface of SAE81C91-NE13 allows hookup to different implementations of the physical layer. The link to a host controller can be made either by a multiplexed 8-bit address/data bus or by a high-speed, serial synchronous interface.
Parametrics
SAE81C91-NE13 absolute maximum ratings: (1)Ambient temperature under bias (TA): –40 to +110℃; (2)Storage temperature (TST): –50 to +150℃; (3)Voltage on VCC pins with respect to ground (VSS): –0.5 to +6.0V; (4)Voltage on any pin with respect to ground (VSS): –0.5 to VCC +0.5V; (5)Input current on any pin during overload condition: –10 to +10mA; (6)Absolute sum of all input currents during overload condition: ±100mA; (7)Power dissipation: 0.5W.
Features
SAE81C91-NE13 features: (1)Full CAN controller for data rate up to 1 Mbaud; (2)Complies with CAN specification V2.0 part A(part B passive); (3)Up to 16 messages simultaneous(each with maximum data length); (4)Message identifier reprogrammable on the fly; (5)Several transmit jobs can be sent with a single command; (6)Transmit check; (7)Basic CAN feature; (8)Time stamp for eight messages; (9)Two host interfaces (parallel and serial); (10)User-configurable outputs for different bus concepts; (11)Programmable clock output; (12)Two 8 bit I/O-Port extension (P-LCC-44-1 package only).
Diagrams

![]() |
![]() SAE800 |
![]() Infineon Technologies |
![]() Audio DSPs TRIPLE TONE GONG 2.8 V 10.0 mA |
![]() Data Sheet |
![]()
|
|
||||||||
![]() |
![]() SAE800G |
![]() Infineon Technologies |
![]() Audio DSPs Tone Gong |
![]() Data Sheet |
![]()
|
|
||||||||
![]() |
![]() SAE800G GEG |
![]() Infineon Technologies |
![]() Multimedia Misc Prog Sngl/Dual/Trpl Tone Gong |
![]() Data Sheet |
![]() Negotiable |
|
||||||||
![]() |
![]() SAE800GNK |
![]() Infineon Technologies |
![]() Multimedia Misc TONE GONG 18V |
![]() Data Sheet |
![]() Negotiable |
|
||||||||
![]() |
![]() SAE81C52 |
![]() Other |
![]() |
![]() Data Sheet |
![]() Negotiable |
|
||||||||
![]() |
![]() SAE81C54 |
![]() Other |
![]() |
![]() Data Sheet |
![]() Negotiable |
|
||||||||
(China (Mainland))









