Product Summary
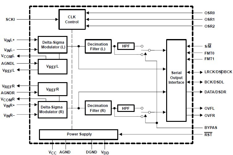
The PCM1804 is a high-performance single chip stereo A/D converter with full differential analog voltage input. The PCM1804 uses a precision delta-sigma modulator and includes a linear phase antialias digital filter and HPF (low-cut filter) that removes dc offset of the input signal. The PCM1804 is suitable for a wide variety of mid-to-high grade consumer and professional applications, where excellent performance and 5-V analog supply and 3.3-V digital power supply operation are required. The PCM1804 can achieve both PCM audio and DSD format due to precision delta-sigma modulator. The PCM1804 is fabricated on an advanced CMOS process and is available in small 28-pin SSOP package.
Parametrics
PCM1804 absolute maximum ratings: (1)Supply voltage: VCC: 6.5 V; VDD: 4 V; (2)Ground voltage differences: AGND, AGNDL, AGNDR, DGND: ±0.1 V; (3)Digital input voltage: FMT0, FMT1, S/M, OSR0, OSR1, OSR2, SCKI, RST: –0.3 V to 6.5 V; (4)BYPAS, DATA/DSDR, BCK/DSDL, LRCK/DSDBCK, OVFL, OVFR: –0.3 V to (VDD + 0.3 V); (5)Analog input voltage: VREFL, VREFR, VCOML, VCOMR, VINL+, VINR+, VINL–, VINR– : –0.3 V to (VCC + 0.3 V); (6)Input current (any pins except supplies): ±10 mA; (7)Ambient temperature under bias, TA: –40℃ to 125℃; (8)Storage temperature, Tstg: –55℃ to 150℃; (9)Junction temperature, TJ: 150℃; (10)Lead temperature (soldering): 260℃, 5 s; (11)Package temperature (IR reflow, peak): 260℃, 10 s.
Features
PCM1804 features: (1)24-Bit Delta-Sigma Stereo A/D Converter; (2)High Performance: Dynamic Range: 112 dB (Typically); SNR: 111 dB (Typically); THD+N: -102 dB (Typically); (3)High Performance Linear Phase antialias Digital Filter: Pass-Band Ripple: ±0.005 dB; Stop-Band Attenuation: –100 dB; (4)Fully Differential Analog Input: ±2.5 V; (5)Audio Interface: Master or Slave Mode Selectable; (6)Data Formats: Left Justified, I2S, Standard 24-Bit and DSD; (7)Function: Peak Detection; Low-Cut Filter (HPF): –3 dB at 1 Hz, fS = 48 kHz; (8)Sampling Rate up to 192 kHz; (9)System Clock: 128 fS, 256 fS, 384 fS, 512 fS, or 768 fS; (10)Dual Power Supplies: 5 V for Analog; 3.3 V for Digital; (11)Power Dissipation: 225 mW; (12)Small 28-Pin SSOP; (13)DSD Output: 1 Bit, 64 fS; (14)Lead-Free Product.
Diagrams

| Image | Part No | Mfg | Description | ![]() |
Pricing (USD) |
Quantity | ||||||||||||
|---|---|---|---|---|---|---|---|---|---|---|---|---|---|---|---|---|---|---|
![]() |
![]() PCM1804 |
![]() Other |
![]() |
![]() Data Sheet |
![]() Negotiable |
|
||||||||||||
![]() |
![]() PCM1804DBG4 |
![]() Texas Instruments |
![]() Audio A/D Converter ICs Full Diff Anlg Inp 24-Bit 192KHz Ster |
![]() Data Sheet |
![]()
|
|
||||||||||||
![]() |
![]() PCM1804DBR |
![]() Texas Instruments |
![]() Audio A/D Converter ICs Full Diff Anlg Inp 24-Bit 192KHz Ster |
![]() Data Sheet |
![]()
|
|
||||||||||||
![]() |
![]() PCM1804DBRG4 |
![]() Texas Instruments |
![]() Audio A/D Converter ICs Full Diff Anlg Inp 24-Bit 192KHz Ster |
![]() Data Sheet |
![]()
|
|
||||||||||||
![]() |
![]() PCM1804DB |
![]() Texas Instruments |
![]() Audio A/D Converter ICs Full Diff Anlg Inp 24-Bit 192KHz Ster |
![]() Data Sheet |
![]()
|
|
||||||||||||
(China (Mainland))










