Product Summary
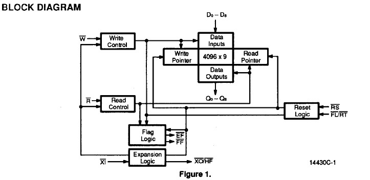
The AM7204A-15RC is a kind of RAM-based CMOS FIFO which is 4096 words deep with 9-bit wide words. It is expandable to any width and/or depth to create much larger FIFOs. The typical applications include communication, image processing, mass storage, DSP and printing systems.
Parametrics
Absolute maximum ratings: (1)supply voltage, VCC: -0.5 to +7.0 V; (2)input voltage: -0.5 to VCC+0.5 V; (3)ambient temperature with power applied: -55 to +125℃; (4)storage temperature: -55 to +150℃; (5)power dissipation: 1.0 W; (6)DC output current: 50 mA.
Features
Distinctive characteristics: (1)RAM based FIFO; (2)4096×9 organization; (3)asynchronous and simultaneous writes and reads; (4)low power consumption; (5)status flags: full, half-full, empty; (6)retransmit capability; (7)expandable in both width and depth; (8)increased noise immunity for XI-CMOS threshold; (9)functional and pin compatible with industry standard devices.
Diagrams

![]() |
![]() AM7204A |
![]() Other |
![]() |
![]() Data Sheet |
![]() Negotiable |
|
||||
(China (Mainland))








