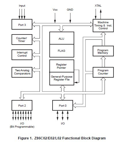
Product Summary
Zilog’s Z86E0208PSC microcontroller (MCU) is a member of the Z8 single-chip MCU family, which offer easy software/hardware system expansion. For applications demanding powerful I/O capabilities, the Z86E0208PSC’s dedicated input and output lines are grouped into three ports, and are configurable under software control to provide timing, status signals, or parallel I/O. One on-chip counter/timer, with a large number of user-selectable modes, off-load the system of administering realtime tasks such as counting/timing and I/O data communications. Additionally, two on-board comparators process analog signals with a common reference voltage.
Parametrics
Z86E0208PSC absolute maximum ratings: (1)Ambient Temperature under Bias: -40 to +105℃; (2)Storage Temperature: -65 to +150℃; (3)Voltage on any Pin with Respect to VSS: -0.7 to +12V; (4)Voltage on VDD Pin with Respect to VSS: -0.3 to +7V; (5)Voltage on Pin 7 with Respect to VSS: -0.7 to VDD+1V; (6)Voltage on Pin 7,8,9,10 with Respect to VSS: -0.7 to VDD+1V; (7)Total Power Dissipation: 462mW; (8)Maximum Allowed Current out of VSS: 300mA; (9)Maximum Allowed Current into VDD: 270mA; (10)Maximum Allowed Current into an Input Pin: -600 to +600mA; (11)Maximum Allowed Current into an Open-Drain Pin: -600 to +600mA; (12)Maximum Allowed Output Current Sinked by Any I/O Pin: 20mA; (13)Maximum Allowed Output Current Sourced by Any I/O Pin: 20mA; (14)Maximum Allowed Output Current Sinked by Port 2, Port 0: 80mA; (15)Maximum Allowed Output Current Sourced by Port 2, Port 0: 80mA.
Features
Z86E0208PSC features: (1)18-Pin DIP and SOIC Packages; (2)0℃ to 70℃ Standard Temperature; (3)–40℃ to 105℃ Extended Temperature; (4)4.5V to 5.5V Operating Range (Z86E02); (5)14 Input / Output Lines; (6)Five Vectored, Prioritized Interrupts from Five Different Sources; (7)Two On-Board Comparators; (8)Software Enabled Watch-Dog Timer (WDT); (9)Programmable Interrupt Polarity; (10)Two Standby Modes: STOP and HALT; (11)Low-Voltage Protection; (12)One Programmable 8-Bit Counter/Timer with a 6-Bit Programmable Prescaler; (13)Power-On Reset (POR) Timer; (14)On-Chip Oscillator that Accepts RC, Crystal, Ceramic Resonator, LC, or External Clock Drive (C02/L02 only); (15)On-Chip Oscillator that Accepts RC or External Clock Drive (Z86E02 SL1903 only); (16)On-Chip Oscillator that Accepts Crystal, Ceramic Resonator, LC, or External Clock Drive (Z86E02 only); (17)Clock-Free WDT Reset; (18)Low-Power Consumption (50mw); (19)Fast Instruction Pointer (1.5 ms @ 8 MHz); (20)Fourteen Digital Inputs at CMOS Levels; (21)Schmitt-Triggered.
Diagrams

| Image | Part No | Mfg | Description | ![]() |
Pricing (USD) |
Quantity | ||||||
|---|---|---|---|---|---|---|---|---|---|---|---|---|
![]() |
![]() Z86E0208PSC1925 |
![]() ZiLOG |
![]() 8-bit Microcontrollers (MCU) Z8 512 Byte OTP 8MHz |
![]() Data Sheet |
![]() Negotiable |
|
||||||
| Image | Part No | Mfg | Description | ![]() |
Pricing (USD) |
Quantity | ||||||
![]() |
![]() Z86E02 |
![]() Other |
![]() |
![]() Data Sheet |
![]() Negotiable |
|
||||||
![]() |
![]() Z86E02 SL1925 |
![]() Other |
![]() |
![]() Data Sheet |
![]() Negotiable |
|
||||||
![]() |
![]() Z86E0208HEC1925 |
![]() ZiLOG |
![]() 8-bit Microcontrollers (MCU) .5K OTP 8MHz XTEMP |
![]() Data Sheet |
![]() Negotiable |
|
||||||
![]() |
![]() Z86E0208HEC1925TR |
![]() |
![]() IC Z8 MCU OTP 512 20SSOP |
![]() Data Sheet |
![]()
|
|
||||||
![]() |
![]() Z86E0208HEG1925 |
![]() ZiLOG |
![]() 8-bit Microcontrollers (MCU) .5K OTP 8MHz XTEMP |
![]() Data Sheet |
![]()
|
|
||||||
![]() |
![]() Z86E0208HSC1925 |
![]() ZiLOG |
![]() 8-bit Microcontrollers (MCU) Z8 .5K OTP 8 MHZ |
![]() Data Sheet |
![]() Negotiable |
|
||||||
(China (Mainland))










